Chevy Small Block - Long Water Pump
|
With the increasing use of long water pumps on modified vehicles these are very popular. Bolt to the top water pump and the two front intake bolts. May be used individually or as a pair. Will clear tall valve covers. NO DRILLING OR TAPPING REQUIRED. A hole is provided in the A.C. bracket for a heater hose. |
![]() |
|
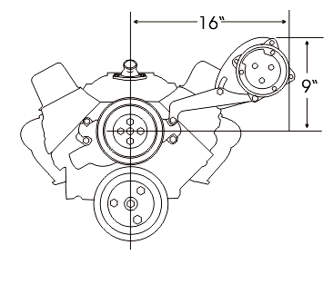
Same as 101R and 201L, but for opposite sides. The A.C. bracket is often used in conjunction with the factory alternator mount. |
![]() |
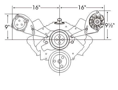
| Rear View of all bracket types that bolt to the intake and water pump. | ![]() |
|
Similar to the 101R and 201L, these brackets move the compressor forward and the alternator out to clear multiple carbs, etc. The compressor belt runs in the groove normally used by the alternator and vice versa. |
![]() |
|
A very versatile street rod style bracket system. Works well with most induction systems. Will clear multiple carbs, fuel injection, etc. Bolts to the head and top water pump bolt holes. The alternator bracket will fit all 1969 and newer heads. The A.C. Compressor bracket fits all G.M aluminum heads including the fast-burn aluminum heads and may be used on 1969 thru 1986 cast iron heads by drilling and tapping one hole for the upper mounting point. Will clear up to 3 in. tall center bolt valve covers when used on 1987 and later heads. Will clear up to 3 3/4 in. tall valve covers when used on 1986 and earlier heads. |
![]() |
|
These brackets are designed for 1987 and later cast iron heads including the popular VORTEC heads. VORTEC heads use 5/16" intake bolts that point straight down. Will clear valve covers up to 3 in. tall. |
![]() |
|
This bracket system is similar to our 130R and 230L, but sits about 1 in. higher to clear valve covers up to 4 1/2 in. tall when used with 1986 or earlier heads. Bolts to the heads and water pump. When the A.C. Compressor bracket is used on heads with one bolt hole, they will require drilling and tapping one hole for the upper mounting point. |
![]() |
Low Profile
|
Designed for cars with low hood clearance -- Vettes, Camaros, etc. These brackets work great on most vehicles with a wide engine compartment-Trucks, 50-60's cars, etc. These brackets bolt to the head and top water pump bolt holes. The alternator bracket will fit all 1969 and newer heads. The A.C. Compressor bracket fits all G.M. aluminum heads including the fast-burn aluminum heads and may be used on 1969 thru 1986 cast iron heads by drilling and tapping one hole for the upper mounting point. |
![]() |
|
These brackets are designed for 1987 and later cast iron heads including the popular VORTEC heads. VORTEC heads use 5/16" intake bolts that point straight down. |
![]() |
|
These brackets bolt to the water pump and exhaust. NO HOLES NEEDED in head. Furnished with hardware to fit stock exhaust manifolds and most headers. If used with headers the front tube must turn down enough to allow access to the bolt hole in front of the second pipe as shown in the side view. |
![]() |
|
This bracket works well if you are adding a compressor to a long water pump application and want to leave the alternator in the factory location on the passenger side. |
![]() |
|
This bracket works well if you are adding a compressor to a LONG water pump application. Designed to bolt to the head and top water pump bolt only. Will not work with factory power steering pump bracket. See 119L above for dimensions. |
![]() |
|
Side View of small block Low Profile brackets that bolt to water pump and exhaust. |
![]() |
|
LOW A.C. Tight-fit design fits narrow frames. Compressor bolts to fuel pump mounting flange for strength. May be driven off crank and fan pulleys or crank pulley ONLY. REQUIRES USE OF REMOTE FUEL PUMP. Check our dimension requirements before ordering. |
![]() |
|
This bracket kit was designed to be used with the stock long pump alternator mount. It eliminates the need for a mountinghole in the head when using early heads on a later application. |
![]() |
MID - MOUNT ALT.This bracket mounts the alternator just above the pump inlet. Bolts to head and water pump. Works well in low hood applications or for extra space for TPI fuel lines, etc. FITS LONG PUMP ONLY. |
![]() |
|
This optional bracket kit allows the 215R to be used on engines without a hole in the head. Bolts to water pump attachment points and back of the alternator. |
![]() |
LOW ALT.Mounts the alternator low on the driver's side. Bolts to block and water pump for the stability needed when mounting the alternator low with a long water pump. |
![]() |

















