Chevy Small Block - Short Water Pump
Our MOST POPULAR BRACKETS. Bolt to top water pump and the two front intake bolts. May be used individually or as a pair. Will clear tall valve covers. NO DRILLING OR TAPPING REQUIRED. |
![]() |
Same as 100R and 200L except for OPPOSITE SIDES. The alternator bracket is often used on vehicles without air conditioning to provide more radiator hose space. |
![]() |
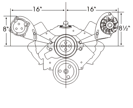
Rear View of all bracket types that bolt to the intake and water pump. |
![]() |
Extra Clearance
Designed for use in applications that require added clearance for Tri-Power Carbs, Dual-Quad Carbs, etc. Bolt to top water pump and the two front intake bolts. Alternator bracket works well with intake mounted oil filler tube. Will clear tall valve covers. |
![]() |
A very versatile street rod style bracket system. Works well with most induction systems. Will clear multiple carbs, fuel injection, etc. Bolts to the head and top water pump bolt holes. The alternator bracket will fit all 1969 and newer heads. The A.C. Compressor bracket fits all G.M aluminum heads including the fast-burn aluminum heads and may be used on 1969 thru 1986 cast iron heads by drilling and tapping one hole for the upper mounting point. Will clear up to 3 in. tall center bolt valve covers when used on 1987 and later heads. Will clear up to 3 3/4 in. tall valve covers when used on 1986 and earlier heads. |
![]() |
These Brackets are designed for 1987 and later cast iron heads including the popular VORTEC heads. VORTEC heads use 5/16" intake bolts that point straight down. Will clear valve covers up to 3 in. tall. |
![]() |
This bracket system is similar to our 128R and 228L, but sits about 1 in. higher to clear valve covers up to 4 1/2 in. tall when used with 1986 or earlier heads. Bolts to the heads and water pump. When the A.C. Compressor bracket is used on heads with one bolt hole, they will require drilling and tapping one hole for the upper mounting point. |
![]() |
Low Profile
Designed for cars with low hood clearance-Vettes, Camaros, etc. These brackets work great on most vehicles with a wide engine compartment -- Trucks, 50 - 60's cars, etc. These brackets bolt to the head and top water pump bolt holes. The alternator bracket will fit all 1969 and newer heads. The A.C. Compressor bracket fits all G.M. aluminum heads including the fast-burn aluminum heads and may be used on 1969 thru 1986 cast iron heads by drilling and tapping one hole for the upper mounting point. |
![]() |
Low Profile brackets are designed for 1987 and later cast iron heads including the popular VORTEC heads. VORTEC heads use 5/16" intake bolts that point straight down. |
![]() |
These brackets bolt to the water pump and exhaust. NO HOLES NEEDED in head. Furnished with hardware to fit stock exhaust manifolds and most headers. If used with headers the front tube must turn down enough to allow access to the bolt hole in front of the second pipe. |
![]() |
Same as 113R, 213L except for opposite sides. |
![]() |
These brackets are the same as our original 113/213 low profile brackets (above), but sit 1 in. lower to provide extra room when needed. |
![]() |
Same as 113R-Low, 213L-Low except for opposite sides. |
![]() |
These brackets were designed for 1962 and earlier Corvettes. Bolts to the water pump and exhaust while still allowing the use of the factory front motor mount. |
![]() |
Same as 113R-SC, 213L-SC except for opposite sides. |
![]() |
Side View of small block Low Profile brackets that bolt to water pump and exhaust. |
![]() |















